- Термостаты
- Полотенцесушители
- Сифоны и системы смыва
- Душевые кабины
- Диспенсеры для мыла
- Душевые углы
- Душевые ограждения
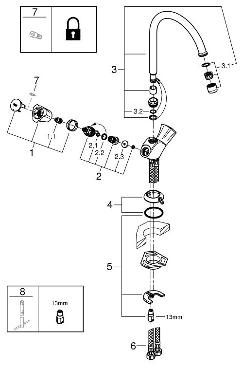
Смеситель Grohe 31812001
от 6550 до 19836
Производитель: GROHE
Модель: 31812001
EAN: 4005176843297
Тип товара: Для кухни
ID: 323529
Добавлено: 25.08.2016
Описание
Grohe Costa L - это высококачественный смеситель, который превосходно справится с поставленными перед ним задачами. Каждый элемент модели изготовлен из ультрапрочных материалов, которые гарантируют надежность и долговечность смесителя. Устройство очень легко устанавливается, и этот процесс не займет много времени. Несомненным преимуществом так же является наличие плавности регулировки напора воды, что очень удобно в ходе использования. Наличие аэратора препятствует излишнему расходу воды.
Grohe Благодаря неустаревающему облику и классическому изгибу излива смеситель Costa L представляет собой образец гармоничного сочетания качества, дизайна и технологий. Коллекция Costa L была впервые представлена публике в 1970-х годах и с тех пор неоднократно усовершенствовалась и модернизировалась, для того чтобы всегда оставаться современной и актуальной.
Практичный и эстетичный смеситель представлен в современном дизайне в цвете «хром» гармонично сочетается с другими сантехническими приборами и бытовой техникой. К числу преимуществ данной модели, помимо эстетичного внешнего вида можно отнести комфорт использования: керамический картридж обеспечивает плавный ход рычага, а аэратор делает струю воды мягкой и равномерной.
Смотри также характеристики.
СкидкаГИД инфо +
Сервис сравнения цен СкидкаГИД предлагает сравнить цены на товар «Смеситель Grohe 31812001»
По данным нашего сервиса товар предлагался к продаже в 18 магазинах. На сегодняшний день доступен в 3 магазинах: Santehnika-room, Santprice, grohe. По цене от 6550 р. до 19836 р., средняя цена составляет 13184 р., а самая низкая цена в магазине grohe. В случае, если для вас на данный момент цена слишком высока, вы можете воспользоваться сервисом «Сообщить о снижении цены» - мы оповестим вас как только цена опустится до желаемого значения. Но будьте внимательны, используя сервис «История цены» можно спрогнозировать в какую сторону изменяется цена, возможно сейчас самое время для покупки.
Кроме сервиса сравнеция цен, наш сайт также позволяет экономить еще двумя способами: промокодный сервис (информация о промокодах, а также скидки и акции на товары), а также собственный кэшбэк сервис. Купить с кешбеком можно в следующих магазинах: Santehnika-room. А информация о промокодах доступна рядом с ценой от магазина и постоянно обновляется.
Чтобы сделать правильный выбор у нас есть подборка видео обзоров:
- Как легко установить однорычажный смеситель для кухни GROHE с выдвижным изливом
Характеристики
| Параметр | Значение |
|---|---|
| Collecting Card Attribute | Монтаж на раковину/столешницуУправление вентильноеИзлив поворотный |
| Grohe серия | Costa L |
| Reviews | 3 |
| Аналог | 31831002 |
| Артикул | 31812001 |
| Аэратор | есть |
| Бренд | Grohe |
| ВКоробке | Смеситель - 1 шт. Цепочка - 1 шт. Комплект подводки - 1 шт. Инструкция - 1 шт. |
| Вес брутто | 1.29 |
| Вес в упаковке, кг | 1.29 |
| Вес, кг | 1.2 |
| Вес | 2 кг |
| Вид смесителя | для кухонной мойки |
| Внешний / встраиваемый монтаж | внешний |
| Возможность подключения фильтра | Без возможности подключить фильтр для воды |
| Вращающийся излив | да |
| Вращение излива | С вращающимся изливом |
| Встраиваемый | нет |
| Встроенный кран для питьевой воды | нет |
| Встроенный фильтр | Без встроенного фильтра |
| Выдвижная лейка | Нет |
| Выдвижной излив | Нет |
| Высота излива, мм | 192 |
| Высота излива, см | 19.2 |
| Высота излива | 194 мм |
| Высота излива_диапазоны | До 19,8 см |
| Высота смесителя | 282 мм |
| Высота, мм | 282 |
| Высота, см | 28,2 |
| Высота | Средней высоты |
| Гарантийный срок | 2 года |
| Гарантия производителя | 5 лет |
| Гарантия | 5 лет |
| Гибкий излив | нет |
| Гигиенический душ | нет |
| Глубина, мм | 219 |
| Глубина, см | 20,5 |
| Глубина | 21.9 |
| Дизайн | Модерн |
| Длина (мм) | 182 |
| Длина излива в мм. | 182 |
| Длина излива, мм | 182 |
| Длина излива, см | 18.2 |
| Длина излива | С изливом средней длины |
| Длина | 217 мм |
| Донный клапан | Нет |
| Дополнительное оснащение | аэратор, гибкая подводка |
| Дополнительные функции | вращение излива |
| Другое название | Гроэ Коста Л |
| Запорный клапан | керамический |
| Излив | Есть |
| Канал для питьевой воды | нет |
| Коды товара производителя | 31812001 |
| Кол-во монтажных отверстий, шт | 1 |
| Количество монтажных отверстий | 1 |
| Коллекция (Сместители) | Costa |
| Коллекция | Costa L |
| Комплектация | подводка |
| Лейка | нет |
| Линии форм | баланс |
| Локтевой | нет |
| Маркетинговый цвет | хром |
| Материал корпуса | латунь |
| Материал смесителя | латунь |
| Материал | Из латуни |
| Механизм управления | резиновая кран-букса |
| Механизм | Керамическая кран-букса |
| Монтаж смесителя | горизонтальный |
| Монтаж | на раковину/столешницу |
| Название цвета | Хром |
| Назначение смесителя | для кухонной мойки |
| Назначение | Для кухни |
| Наличие термостата | нет |
| Наличие фильтра | нет |
| Область применения | бытовая |
| Обратный клапан | есть |
| Объём упаковки, м3 | 0.005 |
| Ограничение расхода воды | есть |
| Оснащение | С гибкой подводкой, с аэратором |
| Отверстий для монтажа | 1 |
| Отверстия для монтажа под смеситель | 2 отверстия |
| Отверстия для монтажа | на 1 отверстие |
| Поверхность | Глянцевая |
| Поворотный излив | нет |
| Подача питьевой воды | отсутствует |
| Подключение фильтра питьевой воды | Без подключения фильтра |
| Подключение | с гибкой подводкой 3/8" |
| Покрытие | Глянцевое |
| Производитель | Grohe |
| Размер упаковки ДxШxВ, см | 23.9x16.7x30.2 |
| Расход воды | 13 л/мин |
| Режим душ излива | нет |
| Родина бренда | Германия |
| С фильтром для питьевой воды | Нет |
| Серия | Costa L |
| Система быстрого монтажа | есть |
| Состав комплекта | смеситель, комплект для подключения |
| Срок гарантии | 12 мес |
| Стандарт подводки | Со стандартом подводки 3\8 |
| Стилистика дизайна | С современным дизайном |
| Стиль смесителя | модерн |
| Стиль | современный |
| Страна бренда | Германия |
| Страна производства | Португалия |
| Страна происхождения | Китай |
| Страна-производитель | Германия |
| Страна | Германия |
| Термостат | нет |
| Технологии | GROHE SilkMove, GROHE StarLight |
| Тип запорного механизма | кран-букса резиновая |
| Тип излива | С традиционным изливом |
| Тип лейки в комплекте | нет |
| Тип монтажа | на мойку, на столешницу |
| Тип подводки | Гибкая |
| Тип регулировки | двухвентильные |
| Тип смесителя | двухзахватный |
| Тип товара | смеситель |
| Тип управления смесителя | вентильное |
| Тип установки смесителя | на мойку (раковину) |
| Тип | Смеситель |
| Управление | Двухвентильные |
| Установка | На мойку |
| Фильтр под мойку | нет |
| Форма излива | Традиционная |
| Форма | U-образная |
| Цвет покрытия (Сместители) | хром |
| Цвет покрытия | хром |
| Цвет производителя | хром |
| Цвет | Хром |
| Число отверстий монтажа | 1 |
| Ширина, мм | 147 |
| Ширина, см | 14,7 |
| Ширина | 147 мм |
| Штрих код | 4005176843297 |
| Штрих-код | 4005176843297 |
| Электронный | Нет |
| цвет | серебристый |
Видео обзоры
Замена керамического вентиля GROHE 45346000 замена кран буксы

Как легко установить однорычажный смеситель для кухни GROHE с выдвижным изливом

Замена кранбуксы на смесителе GROHE

Где купить (3)
Цена от 6550 руб до 19836 руб в 3 магазинах
Похожие предложения вы можете найти в нашей подборке:
Смесители GROHE
Смесители с ценой 5240-7860 р.
| Магазин | Цена | Наличие |
|---|---|---|
| Santprice 5/5 | 19836 Онлайн-гипермаркет сантехники, осветительных приборов и мебели | обновлено 22.05.2026 |
| Santehnika-room 5/5 | обновлено 03.03.2026 | |
| grohe 5/5 | 6550 Покупка в официальном магазине Промокоды на скидку | обновлено 30.04.2026 |
| Яндекс.Маркет 5/5 | 16047 Промокоды на скидку | обновлено 04.01.2024 |
| Яндекс.Маркет 5/5 | Промокоды на скидку | |
| AliExpress 5/5 | Один из крупнейших мировых маркетплейсов, Промокоды на скидку | |
| Магазин | Последняя известная цена | Обновлено |
|---|---|---|
| 220 Вольт | 5999 | 18.06.2021 |
| Юлмарт | 5270 | |
| Aquanet | 5330 | |
| Сантехника Тут | 13673 | 25.10.2023 |
| ВОДОПАД | 13418 | 07.06.2025 |
| Santehmoll | 10763 | 12.03.2023 |
| axop | 14322 | 19.03.2024 |
| satra | 12669 | 14.12.2023 |
| Mosplitka | 12479 | 07.02.2023 |
| ТЕХПОРТ | 13517 | 20.10.2023 |
| Santehnika-online | 15610 | 01.08.2023 |
| dushevoi | 14854 | 25.09.2025 |
| Мегамаркет | 17595 | 15.10.2024 |
| Клуб Мастеров | 15300 | 09.11.2024 |
Кэшбэк сервис СкидкаГИД
На сегодняшний день товар «Смеситель Grohe 31812001» можно купить с кешбеком в 2 магазинах: Santehnika-room, Яндекс.Маркет
Кэшбэк – это возврат части денег, потраченных Вами в интернет-магазинах. Всего на нашем сайте более 500 магазинов, с многими из которых Вы наверняка уже знакомы. У каждого магазина свои условия. Кто-то возвращает процент от покупки, а кто-то фиксированную сумму.
Заказывайте он-лайн и получайте часть денег обратно, подробнее..
Аналоги и аксессуары
Смесители GROHE
Категория 5240 р. - 7860 р.



