- Руководства по пользованию программами
- Программирование
- Операционные системы и утилиты для ПК
- Интернет
- Программы и утилиты для цифровых устройств
- Железо ПК
- Информатика
- Сети и коммуникации
- Бухгалтерия
- Базы данных
- Анализ данных
- Электронная бухгалтерия
- Машинное обучение. Анализ данных
- Менеджмент в IT
Инженерная компьютерная графика в nanoCAD и AutoCAD. Учебное пособие для СПО (Федотов Геннадий Васильевич); Лань, 2024

Издатель: Лань
ISBN: 978-5-507-48072-2
EAN: 9785507480722
Книги: Графика. Дизайн. Проектирование
ID: 14450705
Добавлено: 08.02.2024
Описание
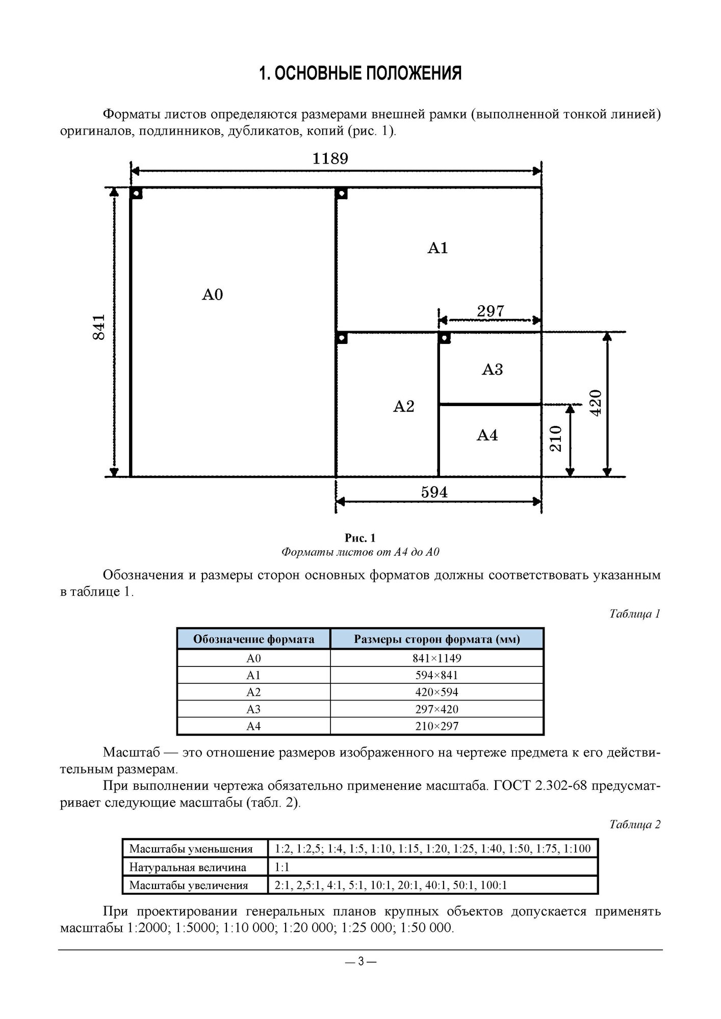
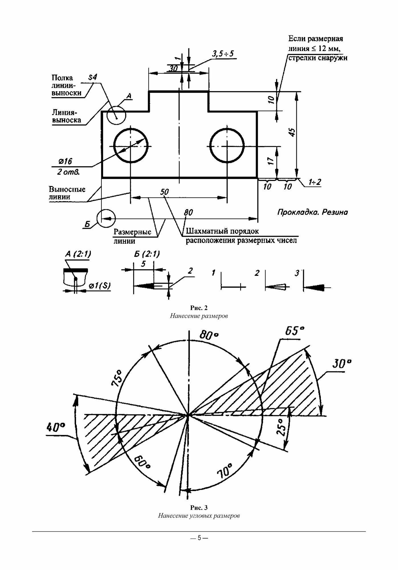
Курс "Инженерная графика" полностью переложен на компьютерное проектирование в nanoCAD (отечественное ПО) или AutoCAD. Изложены эффективные задания и подробные методические рекомендации для освоения дисциплины "Инженерная графика" средствами nanoCAD или AutoCAD. Студентам даются основные принципы и методы черчения и методологии разработки графических документов, а также формируются навыки использования универсальных графических систем для разработки и редактирования чертежей с использованием компьютерного моделирования, конструкторской документации и деловой графики. Предлагаются методы воспроизведения графических объектов графическими примитивами nanoCAD или AutoCAD, общие правила проекционного черчения, изучаются методы нанесения штриховки и размеров, построение изометрических изображений деталей и сложных объектов, а также схем водоснабжения и водоотведения. Также изучаются технологии создания сложных деталей с множественными сопряжениями, формирование графических блоков и их использование, приемы массового воспроизведения графических объектов по массиву, по окружности или по траектории, вставка в чертеж растровых изображений и отрисовка их средствами векторной графики. Приводятся основные ГОСТЫ для машиностроительного черчения, водоснабжения и водоотведения. Соответствует современным требованиям Федерального государственного образовательного стандарта среднего профессионального образования и профессиональным квалификационным требованиям. Для студентов сузов, обучающихся по специальности "Водоснабжение и водоотведение", а также для всех технических специальностей, где изучается дисциплина "Инженерная графика".
Смотри также о книге.
СкидкаГИД инфо +
Сервис сравнения цен СкидкаГИД предлагает сравнить цены на товар «Книга: Инженерная компьютерная графика в nanoCAD и AutoCAD. Учебное пособие для СПО (Федотов Геннадий Васильевич); Лань, 2024»
По данным нашего сервиса товар предлагался к продаже в 5 магазинах. В данный момент у нас нет информации о наличии данного товара в магазинах. Цена на данный товар варьировалась от 536 р. до 1781 р. Вы можете поискать его на других площадках ниже. Также вы можете подписаться на сообщение о наличии товара используя сервис «Сообщить о поступлении» - мы оповестим вас как только товар появится в продаже. Если товар снят с производства, сервис «История цены» поможет соориентироваться на вторичном рынке.
Кроме сервиса сравнеция цен, наш сайт также позволяет экономить еще двумя способами: промокодный сервис (информация о промокодах, а также скидки и акции на товары), а также собственный кэшбэк сервис.
О книге
| Параметр | Значение |
|---|---|
| ISBN | 978-5-507-48072-2 |
| Автор(ы) | Федотов Геннадий Васильевич |
| Год издания | 2024 |
| Издатель | Лань |
| Издательство | Издательство "Лань" |
| Кол-во страниц | 76 |
| Количество страниц | 76 |
| Обложка | мягкая обложка |
| Серия | Компьютеры и программное обеспечение |
| Тип обложки | мягкая |
| Формат | 60*90 1/8 |
Где купить
Последняя известная цена от 536 руб до 1781 руб в 5 магазинах
В данный момент у нас нет информации о наличии данного товара в магазинах. Вы можете поискать его на других площадках ниже.
Также вы можете ознакомиться с нашей подборкой:
Книги: Графика. Дизайн. Проектирование - издательство "Лань"
Книги: Графика. Дизайн. Проектирование с ценой 428 р. - 643 р.
сообщить о поступлении
| Магазин | Цена | Наличие |
|---|---|---|
| Яндекс.Маркет 5/5 | 1039 Промокоды на скидку | обновлено 24.10.2024 |
| Яндекс.Маркет 5/5 | Промокоды на скидку | |
| Магазин | Последняя известная цена | Обновлено |
|---|---|---|
| Лабиринт | 1781 | 02.11.2024 |
| МАЙШОП | 1081 | 23.06.2024 |
| ЛитРес | 536 | 15.08.2024 |
| Мегамаркет | 1039 | 02.11.2024 |
Кэшбэк сервис СкидкаГИД
На сегодняшний день товар «Книга: Инженерная компьютерная графика в nanoCAD и AutoCAD. Учебное пособие для СПО (Федотов Геннадий Васильевич); Лань, 2024» можно купить с кешбеком в 1 магазине: Яндекс.Маркет
Кэшбэк – это возврат части денег, потраченных Вами в интернет-магазинах. Всего на нашем сайте более 500 магазинов, с многими из которых Вы наверняка уже знакомы. У каждого магазина свои условия. Кто-то возвращает процент от покупки, а кто-то фиксированную сумму.
Заказывайте он-лайн и получайте часть денег обратно, подробнее..
Книги: Графика. Дизайн. Проектирование - издательство "Лань"
Категория 428 р. - 643 р.
Графика. Дизайн. Проектирование - издательство "Лань" »
Книги: Графика. Дизайн. Проектирование
Категория 428 р. - 643 р.


